Як відреставрувати петлі задніх розпашних дверей на Mercedes Sprinter?

Час і дороги безжальні до автомобілів. Зношуються і виходять з ладу не тільки деталі двигуна, приводу і підвіски. Виходять з ладу деталі дверей і компоненти інтер'єру популярних фургонів, серед яких почесне місце займають «Мерседеси». Зношені шарніри петель задніх двопільних дверей призводять до зниження комфорту в дорозі, викликають неприємне деренчання, брязкання та гуркіт на нерівностях дороги.
На вітчизняних «шляхах» процес відбувається набагато швидше.
Хтось скаже: Та немає нічого простіше – купити нові петлі, замінити і вирішити проблему на кілька наступних років.
Проте все не так просто.
В чому ж полягає проблема?
1. Петлі дверей фургонів, як правило, доступні тільки в оригіналі. Можливо, це пов'язано з тим, що європейські автомобілі розраховані на європейські ж дороги, при експлуатації яких петлі служать довго. Ось і не передбачив виробник випуск аналогів цих деталей, доступних і недорогих.

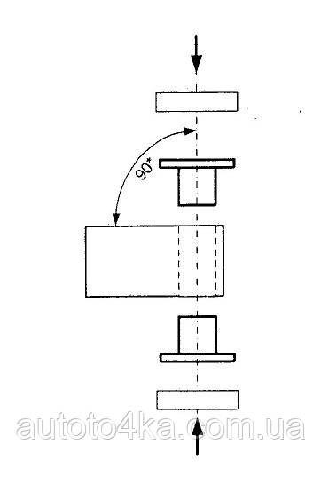
Рис. 1. Двопільні двері фургона Mercedes Sprinter
2. Знайти нові оригінальні петлі не так просто. Після замовлення потрібно чекати, буває і місяць, та й ціни гуманними не назвеш. Вартість найдорожчої нової петлі для дверей з кутом відкриття 270 градусів стартує від двох тисяч гривень. Плюс доставка.
Виняток – два нішевих бренди Solgy (Іспанія) і AutoTechteile (Німеччина). Цінник на їх петлі – приблизно в два рази нижче – від тисячі гривень.

Рис. 2. Петля задньої двері Mercedes Sprinter мод. 901-905 1995-2006 роки 306004 SOLGY (Іспанія)
3. Петлі з розборок мають невеликий залишковий ресурс і дозволяють вирішити проблему на доволі короткий термін.
Але вихід є. Вітчизняний виробник автозапчастин, відомий автомобілістам під брендом ATP Auto Parts, розробив і запустив у виробництво відносно недорогі ремкомплекти задньої двері, що дозволяють реставрувати слабке місце петлі фургонів Мерседес Спринтер – шарнір – швидко і без зайвого клопоту.
Ремонт петель задніх дверей Мерседес Спринтер з використанням комплектів ATP під силу фахівцю, що володіє необхідними навичками виконання слюсарних робіт.
Асортимент ремонтних комплектів
1. Ремкомплект петлі задніх дверей (270 градусів) на Спринтер W901-904, VW LT ATP 901-270.

Рис. 3. Ремкомплект ATP 901-270

Рис. 4. Склад ремкомплекту ATP 901-270
2. Ремкомплект петлі задніх дверей (180 градусів) Sprinter 901-904 і VW LT моделі ATP 901-180.

Рис. 5. Ремкомплект ATP 901-180

Рис. 6. Склад ремкомплекту ATP 901-180
3. Ремкомплект петлі задніх дверей 180° Мерседес Спринтер 906, VW Crafter 2006 - моделі ATP 906-180.

Рис. 7. Ремкомплект ATP 906-180
Склад ремкомплектів ATP 901-180 і ATP 906-180 ідентичний.
4. Комплект інструменту для ремонту петель ATP 901-180 KIT.

Рис. 8. Комплект інструменту ATP 901-180 KIT
Це відмінне доповнення до ремкомплектів, що дозволяє уникнути зайвого клопоту у пошуку потрібних для виконання роботи дрібниць.
Для правильного підбору ремкомплекту потрібно враховувати наступне:
1. Фургони Мерседес Спринтер комплектуються двопільними дверима двох типів:
- з кутом відкривання 180 градусів – петлі задніх дверей мають по одному шарніру;
- з кутом відкриття 270 градусів – має петлі задніх дверей з двома шарнірами.
2. Штифти петель обох типів однакові.

Рис. 9. Штифт дверного шарніра
Штифти виготовлені з сталі 40Х. Вони розраховані на тривалу експлуатацію. З одного боку штифт має рифлену накатку для більш надійної фіксації в шарнірі.
3. Висота втулок з комплектів для дверей з кутом відкривання 180 і 270 градусів різна.
Втулки – бронзові. Висота втулок комплектів ATP 901-180 і ATP 906-180 – 18 мм. Кількість їх – по 2 шт. В комплекті ATP 901-270 втулок – 4 шт. По 2 шт. висотою 21 мм і 13 мм

Рис. 10. Втулка
Який порядок виконання робіт при реставрації шарніра?
1. Видалення зношеного штифта
Для зняття напруги в сполученні свердлом діаметром 6 мм, що входить в комплект інструменту, свердляться з двох сторін отвори на глибину 12-15 мм
Важливо! Розсвердлювання виконувати акуратно, щоб не пошкодити стінки шарніра!

Рис. 11
Після цього вибивається штифт в бік рифленої накатки за допомогою високоміцного болта М6 з набору інструменту.

Рис. 12
2. Запресовування бронзових втулок в середню частину шарніра
Для цього спочатку розсвердліваємо зношене гніздо свердлом діаметром 10,0 мм.

Рис. 13
Потім приступаємо безпосередньо до запресовування втулок з ремкомплекту.

Рис. 14
Увага! Висота втулок з комплектів для дверей з кутом відкривання 180 і 270 градусів відрізняється!
3. Розгортання бронзових втулок ручною розгорткою (райбером) діаметром 8 мм під штифт.
Увага! Оптимальним вважається розмір 8,00 +0,03 мм

Рис. 15
4. Припасування деталей, елементів петлі
Для цього вручну напилком вирівнюються внутрішні поверхні шарніра, як це показано на рис. 16 і під отриманий розмір підганяються фланці бронзових втулок.

Рис. 16
5. Складання петлі
Операція виконується з упором під нижню частину петлі шляхом запресовування штифта.
Перед запресовуванням штифта всередину бронзових втулок наноситься мастило з ремкомплекту.
Штифт запресовується з боку, де спочатку була накатана його частина. При досягненні штифтом упору декількома ударами молотка робиться розвальцьовування виступаючої частини для запобігання в подальшому випадання штифта.

Рис. 17
Далі забирається упор і штифт запресовується повністю.

Рис. 18
Відновлені таким чином петлі забезпечують плавне відкривання дверей та їх щільне прилягання до ущільнювачуа
Скільки комплектів потрібно для ремонту дверей одного фургона?
Найчастіше реставрації потребують шарніри всіх чотирьох петель. Рідше потрібен ремонт двох петель (з одного боку). З такого розрахунку замовляють і ремкомплекти. У будь-якому випадку достатньо одного комплекту інструменту.
Ремкомплекти можна купити в інтернет-магазині Автоточка (autoto4ka.com.ua).
Звертайтеся. Ми відкриті онлайн 24/7.
Як підібрати сайлентблоки маятникового важеля КПП Фольксваген Т4?Стаття присвячена осоливостям підбору деталей кріплення КПП VW T4, до яких відносяться маятниковий важіль і сайлентблоки. Кількість ілюстрацій - 5.Повна версія статті
Нові надходження 04.05.25. Для власників Фольксваген Т3Нові надходження запчастин на Фольксваген Транспортер Т3Повна версія статті

